Главная Новости HI-tech Сооснователь Google тайно финасировал разработки летающих автомобилей
commentss НОВОСТИ Все новости

Сооснователь Google тайно финасировал разработки летающих автомобилей

Сооснователь Google Ларри Пейдж некоторое время лично финансировал два стартапа, занимающихся созданием летающих автомобилей

10 июня 2016, 13:23
Поделитесь публикацией:
Сооснователь Google тайно финасировал разработки летающих автомобилей

Один из них, Zee.Aero, он финансировал с момента его создания в 2010 году, а в прошлом году начал инвестировать ещё и в Kitty Hawk, сообщает "3Dnews".

Всё это Пейдж делал исключительно из личного интереса — однажды в этих целях он даже занял целый офис в штаб-квартире Google.

Zee.Aero и Kitty Hawk никак не связаны между собой — они разрабатывают летающие автомобили по отдельности. При этом Zee.Aero проводит тестовые полёты своих прототипов в аэропорту, располагающемся примерно в часе езды от штаб-квартиры Google в Маунтин-Вью.

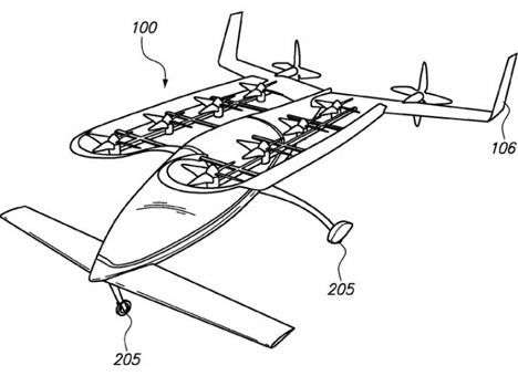
Zee.Aero наняла дизайнеров и инженеров из таких крупных организаций, как NASA, Boeing и SpaceX. Стартап тестировал два одноместных прототипа: один из них выглядит как обычный небольшой самолёт, второй же оснащён пропеллерами по сторонам.

В одном из патентов Zee.Aero присутствует описание похожего летательного аппарата, имеющего тонкий фюзеляж по центру и двойные ряды пропеллеров. В патенте, зарегистрированном в 2012 году, говорится, что транспортное средство может вертикально взлетать и садиться. Оно описывается как "безопасный, тихий, лёгкий в управлении, эффективный и компактный летательный аппарат".

Второй стартап, в который инвестировал Пейдж, Kitty Hawk, занимается созданием своего собственного летательного средства, напоминающего гигантский квадрокоптер. По масштабам компания куда меньше, чем Zee.Aero. Некоторые инженеры пришли в неё из AeroVelo — компании, в 2013 году получившей приз Сикорского в размере $250 тысяч за создание управляемого силами человека вертолёта, способного оставаться в воздухе более минуты.

Связь Пейджа с этими двумя стартапами не так необычна, как можно подумать. Ряд компаний, включая Volocopter и Aeromobil, занимаются созданием летательных средств, предназначенных для личных нужд — правда, далеко не все эти летательные средства позиционируются как автомобили.

Фото: "3Dnews".



Читайте Comments.ua в Google News
Если вы нашли ошибку, пожалуйста, выделите фрагмент текста и нажмите Ctrl+Enter.
comments

Новости партнеров


Новости

Подписывайтесь на уведомления, чтобы быть в курсе последних новостей!