Рубрики
МЕНЮ
Виталий Войчук
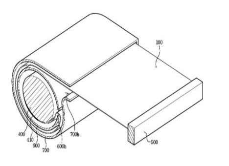
Запатентованная компанией технология позволяет свернуть телевизор в рулон, что поможет освободить место в доме и облегчит транспортировку устройства, сообщает "РБК-Украина".
В Samsung отметили, что в качестве дисплея в нем могут использоваться LCD-, LED- и OLED-панели, а сама технология может быть применима не только в телевизорах, но и мониторах, игровых и мультимедийных устройствах.
Сроки реализации технологии пока не известны, однако в интернете ранее появились слухи, что компания планирует выпускать следующие поколения телевизоров, которые будут сворачиваться "как свиток пергамента".
Напомним, Samsung ранее запатентовал технологию запуска приложений с помощью сканера отпечатков.
Фото: "РБК-Украина".
Новости партнеров