Главная Новости HI-tech Apple не сможет создать гибкий iPhone
commentss НОВОСТИ Все новости

Apple не сможет создать гибкий iPhone

Новосибирский производитель углеродных нанотрубок OСSiAL (проект «Роснано») заявил, что без его технологий Apple не сможет создать гибкий смартфон

17 ноября 2016, 12:41
Поделитесь публикацией:
Apple не сможет создать гибкий iPhone

Однако неизвестно, сотрудничают ли компании или нет, сообщает "3Dnews".

"Единственная продукция, с которой можно сделать такой экран [гибкий], — это наша продукция. Одностенные нанотрубки выпускает единственная в мире компания — это мы. Чтобы сделать такой экран, нужны одностенные нанотрубки", — сообщил научный руководитель OСSiAL Михаил Предтеченский.

При этом он не уточнил, обращалась ли Apple к OСSiAL по поводу заказов таких нанотрубок. Президент OСSiAL Юрий Коропачинский сказал, что не может ни опровергнуть, ни подтвердить то, что компания сотрудничает с Apple.

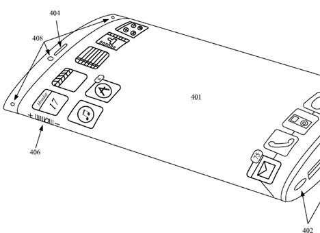
У Apple есть несколько патентов, описывающих устройства с гибкими экранами. Об одном из таких стало известно в прошлом году. Согласно задумке компании, корпус изогнутого устройства должен быть изготовлен из стекла, алюминия, пластика, синтетических волокон и сгибаться за счёт нанотрубок из углерода.

Такие трубки выпускает OСSiAL, они способны улучшать характеристики материалов на величину до 70 %.

В мае 2016 года OСSiAL приступила к строительству новой установки в Академпарке, которая позволит увеличить производительность новосибирской линии с 10 до 50 тонн в год.

Фото: "3Dnews".



Читайте Comments.ua в Google News
Если вы нашли ошибку, пожалуйста, выделите фрагмент текста и нажмите Ctrl+Enter.
comments

Новости партнеров


Новости

Подписывайтесь на уведомления, чтобы быть в курсе последних новостей!