Главная Новости HI-tech Apple получила патент на спортивные наушники
commentss НОВОСТИ Все новости

Apple получила патент на спортивные наушники

Компания Apple получила патент на наушники для спортсменов и любителей активного отдыха 

18 ноября 2016, 10:05
Поделитесь публикацией:
Apple получила патент на спортивные наушники

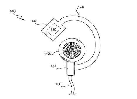
Согласно патенту, наушники могут собирать и хранить данные о спортивной активности владельца, а также сообщать их при первой необходимости, сообщает "РБК-Украина".

Они поддерживают управление жестами головой.

Запатентованная технология позволяет отслеживать физическую активность и биометрические показатели человека (температуру тела, частоту сердцебиения, потоотделение) с помощью специального модуля для наушников.

Особенностью системы является то, что она способна подключаться к iPhone, а управление осуществляется с помощью движений головы.

Напомним, ранее Apple запатентовала сгибающийся смартфон.

Фото: "РБК-Украина".



Читайте Comments.ua в Google News
Если вы нашли ошибку, пожалуйста, выделите фрагмент текста и нажмите Ctrl+Enter.
comments

Новости партнеров


Новости

Подписывайтесь на уведомления, чтобы быть в курсе последних новостей!