Рубрики
МЕНЮ
Виталий Войчук
Описание патента было опубликовано на сайте Бюро патентов и торговых марок США, сообщает "УНИАН".
Изначально патентная заявка на технологию была подана компанией LuxVue еще в 2014 году, однако в апреле прошлого года она была перерегистрирована в связи с тем, что LuxVue была куплена Apple.
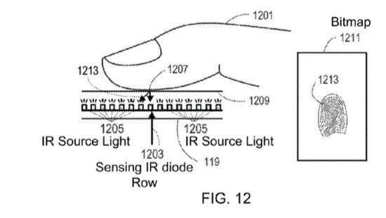
Суть разработки заключается в размещении под поверхностью дисплея устройства излучающих свет микродиодов совместно с улавливающими свет инфракрасными диодами, которые и будут считывать отпечаток пальца владельца устройства.
Фото: The Verge
Новости партнеров