Главная Новости HI-tech IBM хочет использовать дроны для присмотра за животными
commentss НОВОСТИ Все новости

IBM хочет использовать дроны для присмотра за животными

Управление США по патентам и торговым маркам (USPTO) опубликовало патентную заявку IBM на «Беспилотный летательный аппарат для взаимодействия с животным» (Unmanned aerial vehicle for interacting with a pet)

29 марта 2017, 11:35
Поделитесь публикацией:
IBM хочет использовать дроны для присмотра за животными

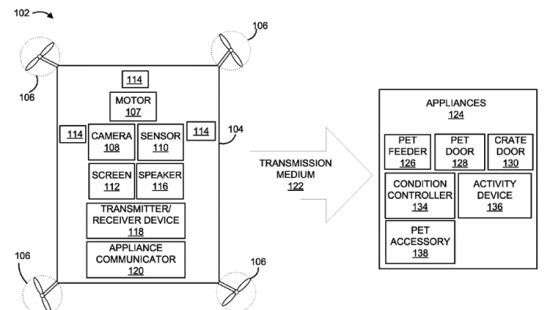
Речь идёт о создании специального дрона, который сможет присматривать за домашними питомцами в отсутствие хозяев, сообщает "3Dnews".

Для этого беспилотник будет оснащён набором сенсоров, камерой, микрофоном, динамиком и дисплеем. Дрон сможет подключаться к интернету и управлять другими устройствами для "умного" дома.

Зафиксировав лай или вой собаки, беспилотник сможет включить игрушку-животное, чтобы развлечь домашнего питомца. В назначенное время аппарат отдаст команду на подачу пищи из автоматического устройства кормления. Дрон сможет отдавать голосовые команды.

Посредством беспилотника хозяева смогут удалённо следить за своими животными и даже общаться с ними. При этом питомец будет видеть своего владельца на дисплее дрона.

Наконец, аппарат сможет отслеживать текущую температуру в помещении и при необходимости изменять режим работы климатической системы, создавая комфортные условия для животного.

IBM лишь патентует предложенную концепцию. О возможных сроках практической реализации идеи ничего не сообщается.

Фото: "3Dnews"



Читайте Comments.ua в Google News
Если вы нашли ошибку, пожалуйста, выделите фрагмент текста и нажмите Ctrl+Enter.
comments

Новости партнеров


Новости

Подписывайтесь на уведомления, чтобы быть в курсе последних новостей!