Главная Новости HI-tech Microsoft запатентовала систему идентификации лиц
commentss НОВОСТИ Все новости

Microsoft запатентовала систему идентификации лиц

Microsoft запатентовала революционную систему идентификации лиц, которая принципиально отличается от той, которую использовала Apple в своем iPhone X

13 февраля 2018, 13:24
Поделитесь публикацией:
Microsoft запатентовала систему идентификации лиц

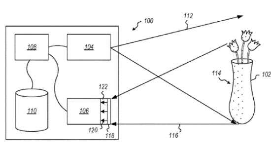
Ключевым новшеством является совмещение инфракрасного фильтра в одной камере с сенсором видимого света, сообщает "Корреспондент.net".

Данная технология позволяет не только экономить занимаемое пространство, но также избежать тех проблем, которые могут возникать из-за расположения датчиков с расстоянием друг между другом.

При использовании данной технологии в iPhone X удалось бы уменьшить площадь "выреза" вверху экрана.

Microsoft не информирует, где именно планирует задействовать новую технологию.

Фото: MSPoweruser.



Читайте Comments.ua в Google News
Если вы нашли ошибку, пожалуйста, выделите фрагмент текста и нажмите Ctrl+Enter.
comments

Новости партнеров


Новости

Подписывайтесь на уведомления, чтобы быть в курсе последних новостей!