Рубрики
МЕНЮ
Виталий Войчук
В разное время аппарату приписывали использование процессора Intel Atom x3 (SoFIA) и Qualcomm Snapdragon 835, а также сенсорного дисплея с поддержкой перьевого ввода, сообщает "3Dnews".
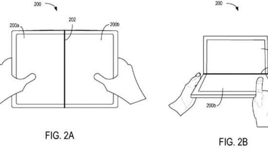
Microsoft разрабатывает гаджет со складной конструкцией в виде книжки. На обеих половинках устройства, вероятно, расположатся сенсорные дисплеи.
Проект якобы носит кодовое имя Andromeda. Редмондский гигант, по сообщениям веб-источников, уже начал знакомить партнёров с ранними прототипами нового мобильного аппарата.
"Сердцем" коммерческой версии Surface Phone может стать процессор Qualcomm Snapdragon 845, который содержит восемь ядер Kryo 385 с тактовой частотой до 2,8 ГГц, графический контроллер Adreno 630 и модем Snapdragon X20 LTE со скоростью передачи данных до 1,2 Гбит/с.
В случае появления на коммерческом рынке Surface Phone будет использовать операционную систему Windows.
Microsoft эти сведения не подтверждает.
Фото: "3Dnews"
Новости партнеров