Главная Новости HI-tech Amazon изобрела «подушку безопасности»
commentss НОВОСТИ Все новости

Amazon изобрела «подушку безопасности»

Amazon активно прорабатывает идею доставки небольших посылок по воздуху посредством беспилотников

19 марта 2018, 12:38
Поделитесь публикацией:
Amazon изобрела «подушку безопасности»

Очередной патент в этой области зарегистрировало на днях Управление США по патентам и торговым маркам (USPTO), сообщает "3Dnews".

При помощи дронов предлагается отправлять товары, приобретённые пользователями интернета. Беспилотники позволят существенно ускорить доставку покупок, что особенно актуально в крупных городах с высокой загруженностью дорог.

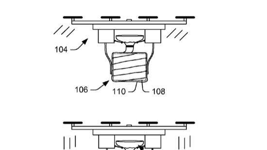
Новый патент получил название "Airlift package protection airbag". Речь в нём идёт о своеобразной "подушке безопасности" для посылок, доставляемых посредством беспилотников.

Amazon предлагает не опускать товары на землю, а сбрасывать их с борта дрона, парящего в воздухе. Такой подход теоретически позволит экономить заряд аккумуляторов, поскольку БПЛА не придётся совершать посадку и взлёт.

Сброс посылки в зависимости от её массы, размеров и содержимого может производиться с высоты от 1,5 до 7,5 метра. Подушка безопасности перед отрывом упаковки от дрона будет заполняться воздухом из баллона или от бортового нагнетателя. Это смягчит удар, что позволит доставить товар заказчику без повреждений.

Выбор точки сброса будет осуществляться на основе анализа изображения от камер — это обеспечит необходимую безопасность.

Фото: "3Dnews"

 



Читайте Comments.ua в Google News
Если вы нашли ошибку, пожалуйста, выделите фрагмент текста и нажмите Ctrl+Enter.
comments

Новости партнеров


Новости

Подписывайтесь на уведомления, чтобы быть в курсе последних новостей!