Главная Новости HI-tech В LG придумали смартфон-книжку
commentss НОВОСТИ Все новости

В LG придумали смартфон-книжку

Всемирная организация интеллектуальной собственности (World Intellectual Property Organization, WIPO) обнародовала патентную документацию LG на оригинальный смартфон со складной конструкцией

11 апреля 2018, 16:19
Поделитесь публикацией:
В LG придумали смартфон-книжку

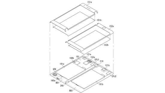
Речь идёт об аппарате-книжке с двумя дисплеями, которые расположены на внешних панелях раскладывающегося корпуса, сообщает "3Dnews".

Экраны слегка загнуты на стороне шарнирного крепления — это позволяет отображать в торцевой части различные уведомления, скажем, время, дату и пр.

Каждая из половинок корпуса наделена собственной аккумуляторной батареей, своим гнездом для наушников и собственной камерой.

Использовать смартфон предлагается в нескольких режимах. Раскрыв аппарат, пользователь сможет превратить его в мини-планшет: при этом на два экрана может выводиться единое изображение.

Установив устройство в полуоткрытом состоянии, скажем, на столе, можно превратить его в медиаплеер для двух пользователей: каждый из них будет видеть свою картинку и получать звук через собственные наушники.

Заявка на патент была подана ещё в 2016 году, но обнародован документ только сейчас. О том, планирует ли компания LG выпуск коммерческих устройств с описанной конструкцией, ничего не сообщается.

Фото: "3Dnews"



Читайте Comments.ua в Google News
Если вы нашли ошибку, пожалуйста, выделите фрагмент текста и нажмите Ctrl+Enter.
comments

Новости партнеров


Новости

Подписывайтесь на уведомления, чтобы быть в курсе последних новостей!